深圳各口岸服务时间介绍
作者:小编
更新时间:2024-06-14
点击数:
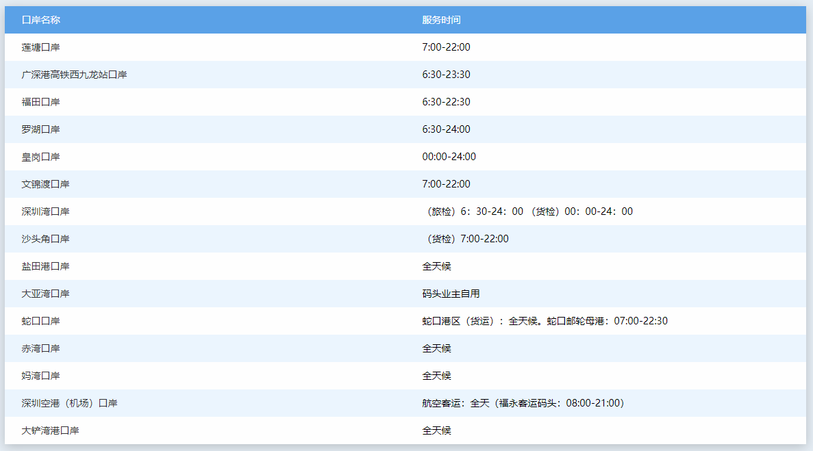
深圳已拥有经国务院批准对外开放的一类口岸16个。其中:公路口岸7个,分别是罗湖、文锦渡、皇岗、沙头角、深圳湾、福田、莲塘口岸;铁路口岸2个,分别是广深港高铁西九龙站口岸和深圳铁路口岸;水运口岸6个,分别是盐田港、大亚湾、蛇口、赤湾、妈湾、大铲湾口岸;航空口岸1个为深圳宝安国际机场。
罗湖口岸是深圳市客流量最大的旅客入出境陆路口岸,目前客流量仍居全国前三甲;皇岗口岸是目前我国货车入出境数量最多的客货综合性公路口岸,也是我国率先实行24小时通关的口岸;深圳湾口岸是我国第一个按照“一地两检”查验模式运作的客货综合性公路口岸;文锦渡口岸是我国最早对外开放的口岸之一;福田口岸是我国首个内地与香港无缝接驳的地铁口岸;莲塘口岸是深港间第七座公路口岸,定位为客货综合性口岸;盐田港口岸是我国四大国际中转深水港之一;蛇口港口岸是第一个由企业自筹资金建设、管理和经营的海港口岸;赤湾口岸是第一个中外合资港口企业建设和经营的海港口岸;深圳宝安国际机场是我国第一家以地方投资为主兴建的机场,是我国四大航空港之一。

各口岸服务时间






